NEW HOLLAND NH180

| ITEM | PART NUMBER | QTY | DESCRIPTION |
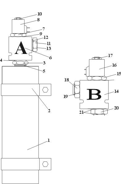
| 20 | RC-0065 | 1 | Adapter-Reducer |
| 21 | RC-0333 | 1 | -12 O-Ring |
| 21 | RC-0326 | 2 | -6 O-Ring |
| 2 | RC-0539 | 2 | Accumulator Clamps |
| ** | RC-0385 | 1 | 48" Hose Assembly |
| ** | RC-0544 | 2 | Modified T-Fitting |
| ** | RC-0551 | 1 | 96" Hose Assembly |
| 1 | RC-0540 | 1 | 1 Qt. Accumulator |
| RC-0431 | 2 | 12V Valve Assembly | |
| 6,14 | RC-0302 | 1 | Body |
| 7,15 | RC-0304 | 1 | Cartridge |
| 8,16 | RC-0432 | 1 | 12V Coil |
| 10,21 | RC-0538 | 2 | Cartridge Nut |
| 18 | RC-0248 | 2 | 90 deg. Elbow |
| 19 | RC-0326 | 1 | -6 O-Ring |
| ** | RC-0589 | 2 | Mounting Plate |
| ** | RC-0326 | 2 | -6 O-Ring |
| 3 | RC-0482 | 1 | SAE O-Ring Adapter |
| 4 | RC-0326 | 1 | -6 O-Ring |
| 5 | RC-0548 | 1 | -8 O-Ring |
| ** | B0604-5F | 2 | Bolt |
| ** | N06-5 | 2 | Nut |
| *** | RC-0602 | 1 | Piston Seal Kit |
| *** | RC-0185 | 1 | Charging & Gauging Kit |
| *** | RC-0353 | 1 | Charging Head |
| *** | RC-0285 | 1 | Charging Gauge |
** Not Shown
*** Not Included in Kit.
If you have any questions, please contact us.
Paul Wever Construction Equipment Co., Inc.
401 Martin Dr. -- P.O. Box 85
Goodfield, IL 61742
1-800-990-7923
Click on address for directions.
Send comments to:
Copyright ©
Last Revised: