EX 40 Extendavator Breakdown
20,000 lbs. to 40,000 lbs.
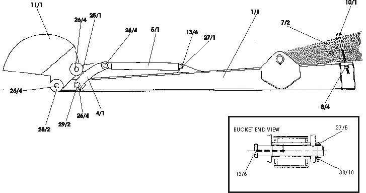
| ITEM | PART NUMBER | QTY | DESCRIPTION |
| 1 | WC-0160 | 1 | Boom Assembly |
| 2 | WC-0003 | 1 | 75" Hose Assembly |
| 3 | WC-0007 | 1 | 31" Hose Assembly |
| 4 | WC-0236 | 1 | Idler Link Assembly |
| 5 | WC-0023 | 1 | Bucket Cylinder |
| 7 | WC-0153 | 2 | 1 1/2" Threaded Rod |
| 8 | WC-0043 | 2 | 1 1/2" Nut |
| 9 | WC-0002 | 2 | 48" Hose Assembly |
| 10 | WC-0002A | 1 | 11.57" Center Plate-Tie |
| 11 | WC-0022 | 1 | 60" Dredge Bucket |
| 12 | WC-0234 | 1 | Linkage Pin |
| 13 | WC-0008 | 7 | Metric Zerk |
| 17 | WC-0001 | 2 | 96" Tube Assembly |
| 18 | WC-0069 | 1 | 96" RH Tube Assembly |
| 19 | WC-0070 | 1 | 96" LH Tube Assembly |
| 20 | WC-0012 | 4 | Bolt (1/2" x 1") |
| 21 | WC-0072 | 4 | Top Hyd. Tube Clamp |
| 22 | WC-0074 | 2 | Bottom Hyd. Tube Clamp |
| 23 | WC-0494 | 2 | Elbow |
| 24 | WC-0495 | 2 | Adapter |
| 25 | WC-0237 | 1 | Power Link |
| 26 | WC-0238 | 4 | Bushing (Boom) |
| 27 | WC-0529 | 1 | Pin (Cylinder Bottom) |
| 28 | WC-0511 | 1 | Elbow Fitting (Cylinder) |
| 29 | WC-0512 | 1 | Bolt (M12 x 50) |
| 30 | WC-0513 | 1 | Lock Washer (M12) |
| 31 | WC-0517 | 2 | O-Ring |
| 32 | WC-0518 | 2 | Bolt (M10 x 35) |
| 33 | WC-0519 | 2 | Lock Washer (M10) |
| 34 | WC-0531 | 2 | Adapter |
| 35 | WC-0532 | 2 | Bolt (5/8" x 5.5") |
| 36 | WC-0533 | 4 | Nut (5/8") |
| 37 | WC-0011 | 5 | Bolt (1/2" x 4.5") |
| 38 | WC-0013 | 10 | Nut (1/2") |
FOR MORE DETAILS OR QUESTIONS, PLEASE CONTACT US.
Paul Wever Construction Equipment Co., Inc.
401 Martin Dr. -- P.O. Box 85
Goodfield, IL 61742
1-800-990-7923
Click on address for directions.
To Extendavator Page
Return To List
Send comments to:
Copyright ©
Last Revised: