EX 180 Extendavator Breakdown
110,000 lbs. to 180,000 lbs.

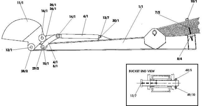
| ITEM | PARTNUMBER | QTY | DESCRIPTION |
| 1 | WC-0264 | 1 | Boom Assembly |
| 2 | WC-0003 | 1 | 75" Hose Assembly |
| 3 | WC-0007 | 1 | 31" Hose Assembly |
| 4 | WC-0378 | 1 | L.H. Idler Link |
| 5 | WC-0379 | 1 | R.H. Idler Link |
| 6 | WC-0386 | 1 | Hydraulic Cylinder |
| 7 | WC-0153 | 2 | Threaded Rod (1 1/2") |
| 8 | WC-0043 | 2 | Nut (1 1/2") |
| 9 | WC-0002 | 2 | 48" Hose Assembly |
| 10 | WC-0253 | 1 | Plate Tie (17" Center) |
| 11 | WC-0022 | 1 | 60" Dredge Bucket |
| 12 | WC-0385 | 1 | Pin (Dipper to Bucket) |
| 13 | WC-0009 | 7 | Metric Zerk |
| 14 | WC-0383 | 1 | Pin (Rod End to Idler) |
| 15 | WC-0382 | 1 | Pin (Idler to Dipper) |
| 16 | WC-0384 | 1 | Pin (Power Link to Bucket) |
| 17 | WC-0001 | 2 | 96" Tube Assembly |
| 18 | WC-0069 | 1 | 96" Dipper Tube Assembly R.H. |
| 19 | WC-0070 | 1 | 96" Dipper Tube Assembly L.H. |
| 20 | WC-0012 | 4 | Bolt (1/2" x 1") |
| 21 | WC-0072 | 4 | Top Hydraulic Tube Clamp |
| 22 | WC-0074 | 2 | Bottom Hydraulic Tube Clamp |
| 23 | WC-0494 | 2 | Elbow |
| 24 | WC-0495 | 2 | Adapter |
| 25 | WC-0375 | 1 | Power Link |
| 26 | WC-0387 | 1 | Power Link |
| 28 | WC-0372 | 2 | Bushing (Boom Front) |
| 29 | WC-0373 | 2 | Bushing (Boom Front-Rear) |
| 30 | WC-0381 | 1 | Pin (Cylinder Bottom) |
| 31 | WC-0496 | 2 | 67" Hose Assembly |
| 32 | WC-0497 | 2 | 188" Hose Assembly |
FOR MORE DETAILS OR QUESTIONS, PLEASE CONTACT US.
Paul Wever Construction Equipment Co., Inc.
401 Martin Dr. -- P.O. Box 85
Goodfield, IL 61742
1-800-990-7923
Click on address for directions.
To Extendavator Page
Return To List
Send comments to:
Copyright ©
Last Revised: