
|
ITEM |
PART NUMBER | QTY | DESCRIPTION |
| ** | RC-0015 | 1 | Case Fitting Reworked |
| ** | RC-Rework | 1 | Case Fitting |
| ** | RC-0024 | 1 | ORS-BR Shoulder |
| ** | RC-0025 | 1 | ORS-BR Nut |
| ** | RC-0016 | 1 | Adapter - ORS/O-Ring |
| ** | RC-0334 | 2 | -16 O-Ring |
| ** | RC-0017 | 1 | Hose Assembly 27.62" long |
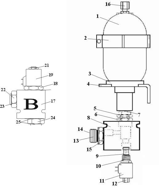
| 13 | RC-0018 | 1 | Adapter - 45 ORS/O-Ring |
| 14 | RC-0330 | 1 | -12 O-Ring Surface |
| 15 | RC-0327 | 1 | -16 O-Ring Boss |
| RC-0005 | 1 | 24V Valve assembly | |
| 9 | RC-0023 | 1 | Cartridge |
| 12 | RC-0538 | 1 | Cartridge Nut |
| 10 | RC-0443 | 1 | Cartridge O-Ring |
| 8 | RC-0022 | 1 | Body |
| 11 | RC-0021 | 1 | Coil |
| 5 | RC-0006 | 1 | SAE O-Ring Boss - Adj. |
| 6 | RC-0327 | 1 | -16 O-Ring |
| 7 | RC-0328 | 1 | -20 O-Ring |
| 1 | RC-0262 | 1 | Accumulator |
| 2 | RC-0009 | 1 | Clamp Bracket |
| 4 | RC-0013 | 1 | Base Bracket |
| 3 | RC-0014 | 1 | Rubber Ring |
| 22 | RC-0137 | 1 | SAE O-Ring Adapter |
| 23 | RC-0326 | 1 | -6 O-Ring |
| RC-0138 | 1 | 24V Valve Assembly | |
| 17 | RC-0302 | 1 | Body |
| 18 | RC-0304 | 1 | Cartridge |
| 19 | RC-0306 | 1 | 24V Coil |
| 21 | RC-0538 | 1 | Cartridge Nut |
| 24 | RC-0139 | 1 | O-Ring Hex Nipple\NPT Adapter |
| 25 | RC-0326 | 3 | -6 O-Ring |
| ** | RC-0140 | 1 | 60" Hose Assembly |
| ** | RC-0141 | 1 | 90 JIC Elbow (Not Shown) |
| 16 | RC-0661 | 1 | Protective Cap |
| *** | RC-0263 | 1 | 1 Gal. Repair Kit |
| *** | RC-0398 | 1 | Valve Stem 1-15 Gal. Accum. |
| *** | RC-0185 | 1 | Charging & Gauging Kit |
| *** | RC-0353 | 1 | Charging Head |
| *** | RC-0285 | 1 | Charging Gauge |
** Not Shown
*** Not Included in Kit
If you have any questions, please contact us.
Paul Wever Construction Equipment Co., Inc.
401 Martin Dr. -- P.O. Box 85
Goodfield, IL 61742
1-800-990-7923
Click on address for directions.
Send comments to:
Copyright ©
Last Revised: